[8]
Шэн – один из древнейших инструментов семейства гармоник, возникший в Бирме, Тибете, Лаосе и Китае.
По древним китайским рукописям (2-3 тысячи лет до н. э.) учеными было установлено самое раннее название инструмента — ю. Затем он стал называться чао, хо, шэн – в зависимости от формы и материала, употребляемого для его изготовления.
Известны также и другие разновидности шэна — чонофуй, или гонофуй (Япония), кэн (Лаос), лушэн и хулушэн (Юго-Западный Китай)[1].
B современном понятии шены делятся на три основных вида:

[9]
большой – дашэн — 800 мм от основания, средний — гжуншэн – 430 мм, малый — сяошэн – 405 мм.
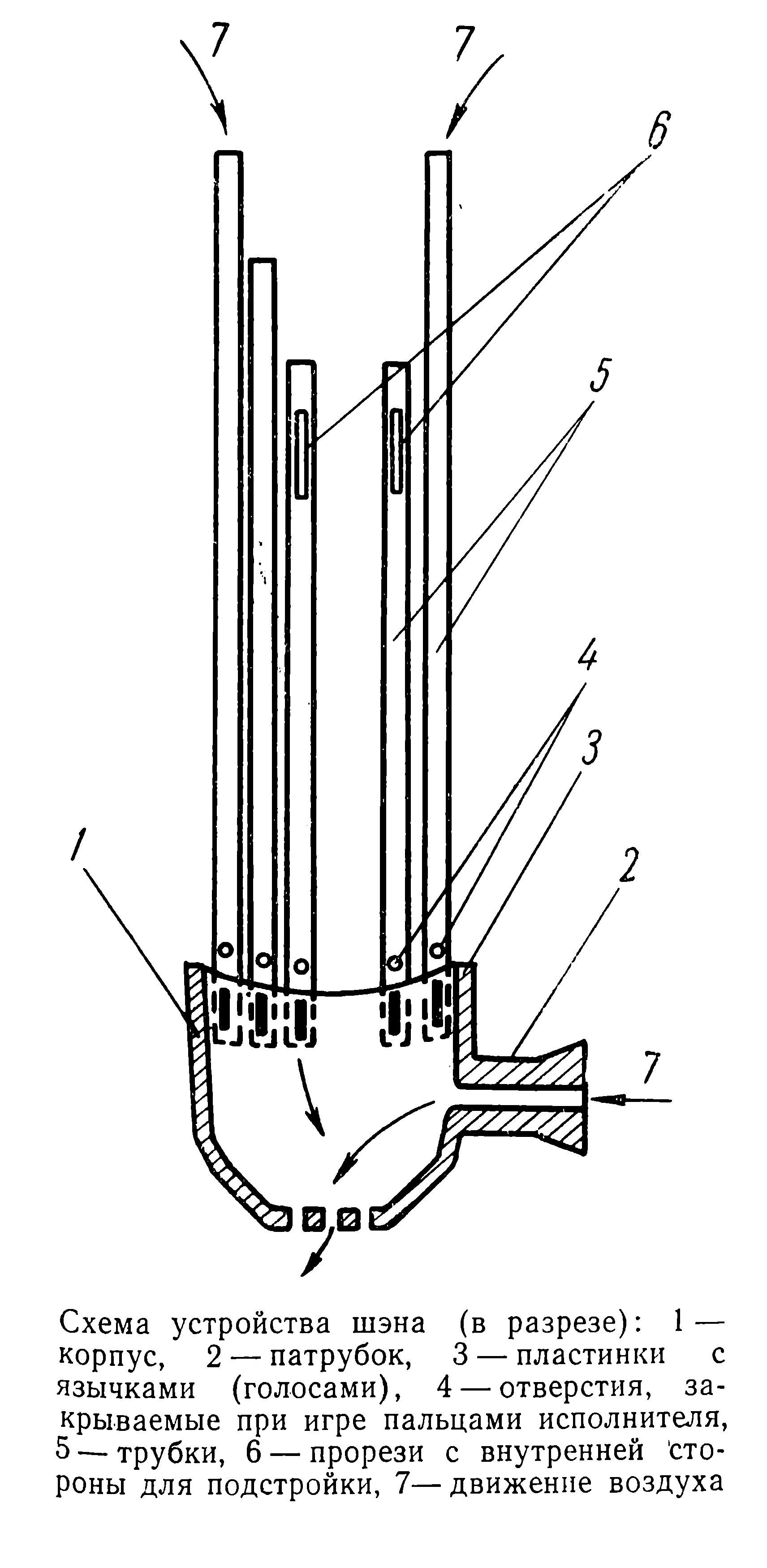
Шэн состоит из корпуса и вделанных в него по окружности бам-

буковых или тростниковых трубочек. В нижнем конце каждой имеется металлическая пластинка[2] с вырезанным в ней язычком. Так называемая планка (рамка) и язычок представляли собой одно целое.
Трубки в шэнах по высоте расположены попарно, обе стороны симметричны, что придает инструменту красивую форму. В игре участвуют не все трубки, некоторые являются декоративными. Снаружи в каждой трубке просверлено круглое отверстие. Звук возникнет в трубке, только если закрыть отверстие пальцем. С внутренней стороны трубок вверху вырезаны продольные проемы, чтобы столб воздуха колебался в резонанс с помещенным внизу язычком, — это усиливает звучание.
Звукообразование в шэне: через мундштук, имеющийся сбоку корпуса, вдувается или втягивается воздух. Так как внизу корпуса (а в больших шэнах – и вверху) имеются отверстия, струя воздуха, проходя через корпус, создает разрежение. Происходит подсос воздуха из трубок. В тех трубках, где исполнитель зажал отверстия, возникает звук.
Корпус шэна держат обеими руками, как чашу; нижнее отверстие резервуара должно находиться между ладонями, а кончики пальцев,
[10]
поднятых вверх, могут закрывать отверстия в нижней части трубок[3].



[1] В России и других европейских странах шэны называли иногда китайскими губными органами.
[2] Пластинка, состоящая из сплава серебра, меди или золота, расплющивалась до толщины в 0,3 мм, затем в ней вырезался специальным ножом язычок. При настройке язычок вырезался нужной длины или на конец его приклеивался кусочек воска.
[3] Шэн всегда считался в Китае, Японии и других странах «чистым» инструментом, то есть пригодным для исполнения священной музыки. («Нечистыми» считались инструменты, употребляемые для исполнения лишь светской музыки.) В начале правления Танской династии (около 700 г. н. э.) шэн был усовершенствованным популярным инструментом. На нем можно было играть в 12 тональностях, для этих инструментов был создан учебник
гармонии. Обычно на шэне играли аккордами, зажимая одновременно несколько отверстий внизу трубок.
В настоящее время есть реконструированный шэн с хроматическим звукорядом двенадцатиступенного современного строя, исполняются на нем как переложения древних мелодий, так и новые сочинения.
Опубл.: Мирек А. Справочник по гармоникам. М.: Музыка, 1968. С. 8-10.
